-
- Categories
- A/C's & Heaters
- Appliances
- Automotive Accessories
- Awnings, Canopies & Shades
- Backup Systems & Accessories
- Bathroom
- Batteries
- Chemicals
- Covers
-
Electrical
- All Electrical
- Indoor Electrical
- Indoor Lighting
-
Marine Electrical
- All Marine Electrical
-
Marine Lighting
- All Marine Lighting
- All Around Lights
- Boat Trailer Lights
- Bow Stern & Side Lights
- Courtesy & Interior Lights
- Deck Dock & Pier Lights
- Fold Down Lights
- Marine Duplex Wire
- Marine Electrical Terminal Kits
- Marine Electrical Terminals & Connectors
- Marine Handheld Lights
- Marine Light Base & Mounts
- Marine Primary Wire
- Marine Specialty Wire
- Marine Triplex Wire
- Marine 12 Volt Plugs & Outlets
- Marine Wire Support Ties & Tubing
- Marine Wiring Tools
- Replacement Lenses & Bulbs
- Search Deck & Hull Lights
- Underwater Lights
- Shore Power
- Switches & Panels
- Outdoor Electrical
- Power Protection
- Fresh Water
- Furniture
- Hitch & Tow
- Jacks, Leveling & Chocks
-
Marine
- All Marine
- Anchoring & Docking
- Boat & Pontoon Seats
-
Boats Motors & Engine Parts
- All Boats Motors & Engine Parts
- Boat Engine Maintenance
-
Boating Engine Parts
- All Boating Engine Parts
- Air Filters
- Alternators
- Anodes
- Carburetors & Fuel Injection
- Drive System
- Engine Hose
- Engine Repair Manuals
- Exhaust & Mufflers
- Gasket Sealant
- Gaskets
- Ignition
- Internal Engine System (IES)
- Lower Unit Assembly
- Lubrication
- Manifolds
- Marine Diesel Components
- Electrical
- OEM Fasteners
- Pistons & Seals
- Power Packs
- Seal Kits & Drain Screws
- Seals & O-rings
- Solenoids
- Spark Plugs & Tune Up Kits
- Starter System
- Starters
- Stators
- Tilt Trim Motors
- Tools & Shop Supplies
- V-Belts & Drive Belts
- Water Pumps & Cooling Systems
- Boating Fuel Systems
- Boating Gauges
- Boating Performance
- Jon Boats
- Outboard Motors
- Propellers
- PWC & Jet Ski Parts
- Steering & Control
- Trolling Motors
- Cabin Galley & Decor
-
Marine Electronics & Navigation
- All Marine Electronics & Navigation
- Action Cameras
- Charting & Cartography
- Fishfinders Depth Sounders & GPS
- Marine Autopilots
- Marine Mounts Enclosures & Storage
- Marine Radars
- Marine Stereo
- Marine TVs & Entertainment
- Multi-function Network System
- Thermal Cameras & Accessories
- VHF Marine Radios & Communication
-
Marine Maintenance & Repair
- All Marine Maintenance & Repair
- Boat Cleats
- Boat Lettering & Numbers
- Boat Paint & Finishes
- Cleaner Applicators & Tools
-
Cleaners Wax & Protectants
- All Cleaners Wax & Protectants
- All Purpose Cleaner
- Bilge Cleaner
- Boat Soap
- Boat Wash & Wax
- Cleaning Kits
- Corrosion Inhibitor
- Deck Cleaner
- Hull Cleaner
- Inflatable Boat Cleaner
- Marine Degreaser
- Marine Fabric Care
- Metal Cleaner
- Mold & Mildew
- Odor Absorbents
- Penetrants & Lubricants
- Plastic & Glass Cleaner
- Rust Cleaner
- Stain Remover
- Vinyl Care
- Wood & Teak Care
- Fiberglass & Gelcoat Repair
- Marine Carpet & Flooring
- Marine Drain Plugs
- Marine Fastener & Snap Kits
- Marine Hardware
- Marine Hatches & Latches
- Marine Rub Rail
- Marine Scuppers
- Marine Wiper Blades & Motors
- Paint Tools & Accessories
- Marine Safety
-
Marine Trailering
- All Marine Trailering
- Marine Trailer Brakes Bearings & Hubs
- Marine Trailer Bunks & Bunk Carpet
- Marine Trailer Guides & Guide-Ons
- Marine Trailer Hardware
- Marine Trailer Hitch Accessories
- Marine Trailer Jacks & Dollies
- Marine Trailer Lights
- Marine Trailer Locks & Security
- Marine Trailer Rollers
- Marine Trailer Tie-Downs
- Marine Trailer Wheels
- Marine Trailer Winches
- Other Marine Trailering Accessories
- Pumps & Plumbing
- RV Hardware, Maintenance & Repair
- RV Roof Vents & Fans
- Sewer & Sanitation
- Steps & Ladders
- Tire Pressure Monitoring Systems
- Propane
- Watersports
Shop Parts & Accessories For Your RV
Select your vehicle to get started
Online Exclusive
1/14
Aqua View ShowerMiser SMC001 for RVs and Boats, Chrome
5 out of 5 Customer Rating
Item #:
140723
$63.99
Wholesale Customers: Sign In for exclusive pricing
FREE Shipping over $2500
FREE In-Store Pickup
Not Available
- Ships from vendor
- Delivery to Change Address
- Delivery Fee Details
Additional shipping charges may apply.
Ships from Vendor
In-Store Only
This item is excluded from all discounts and promotions.
Minimum order quantity of
1
Maximum order quantity of
100
Must purchase in increments of
1
Shipping Restrictions
Shipping for this item is not available to Canada, Alaska or Hawaii
Return Policy
We believe in offering the very best value, quality, and selection. Plus, we want you to enjoy your purchase! In the event you wish to send a product back to us, you may return most unused items for a refund or exchange, minus shipping, within 90 days from the date of purchase unless noted below under exceptions and exclusions. Refunds are issued to the original form of payment, unless returned in store where some exclusions may apply.
The link to Aqua View ShowerMiser SMC001 for RVs and Boats, Chrome has been copied
Features
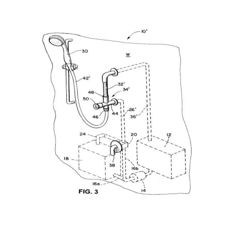
The Aqua View ShowerMiser is a freshwater reclamation System for RV's. Unlike water flow restriction devices, Aqua View's patented ShowerMiser freshwater reclamation system recirculates unused freshwater before it ever goes down the drain, saving money and extending your fresh and gray water tank capacities up to 40% without changing tanks or adding weight. No more wasted water – and money – down the drain.
The AquaView ShowerMiser SMC001 connects anywhere on the non-pressurized side of the freshwater system, for example, the fresh water tank or the input side of the water pump. You simply remove the shower head, attach the ShowerMiser unit, line up and mark where the return line will be, and then drill only one hole in the shower wall through to the inside wall where the other plumbing is maintained. Using the provided lock washer, tighten the ShowerMiser snugly against the wall.
Using a return line with a 1/2" female pipe thread fitting, attach the return line to the ShowerMiser unit. Lastly, connect the other side of the return line to anywhere it is convenient on the non-pressurized side of the fresh water system.
What Comes in the Kit:
ShowerMiser Unit
Diverter Valve (Chrome)
Custom-Threaded Through-Wall Pipe
Lock Nut and Washer (to secure unit tightly against the shower wall)
The AquaView ShowerMiser SMC001 connects anywhere on the non-pressurized side of the freshwater system, for example, the fresh water tank or the input side of the water pump. You simply remove the shower head, attach the ShowerMiser unit, line up and mark where the return line will be, and then drill only one hole in the shower wall through to the inside wall where the other plumbing is maintained. Using the provided lock washer, tighten the ShowerMiser snugly against the wall.
Using a return line with a 1/2" female pipe thread fitting, attach the return line to the ShowerMiser unit. Lastly, connect the other side of the return line to anywhere it is convenient on the non-pressurized side of the fresh water system.
What Comes in the Kit:
ShowerMiser Unit
Diverter Valve (Chrome)
Custom-Threaded Through-Wall Pipe
Lock Nut and Washer (to secure unit tightly against the shower wall)
- Recirculates unused freshwater before it ever goes down the drain
- Extends fresh and gray water tank capacities up to 40%
- Connects anywhere on the non-pressurized side of the freshwater system
- Provided lock washer tightens ShowerMiser snugly against wall
- Includes chrome diverter valve
Specs
Unit Weight
1.00 lb